商铺名称:南京蓝深制泵(集团)股份有限公司
联系人:蓝深(先生)
联系手机:
固定电话:
企业邮箱:lanshen@qq.com
联系地址:南京市六合区雄州东路
邮编:
联系我时,请说是在新塑胶网上看到的,谢谢!
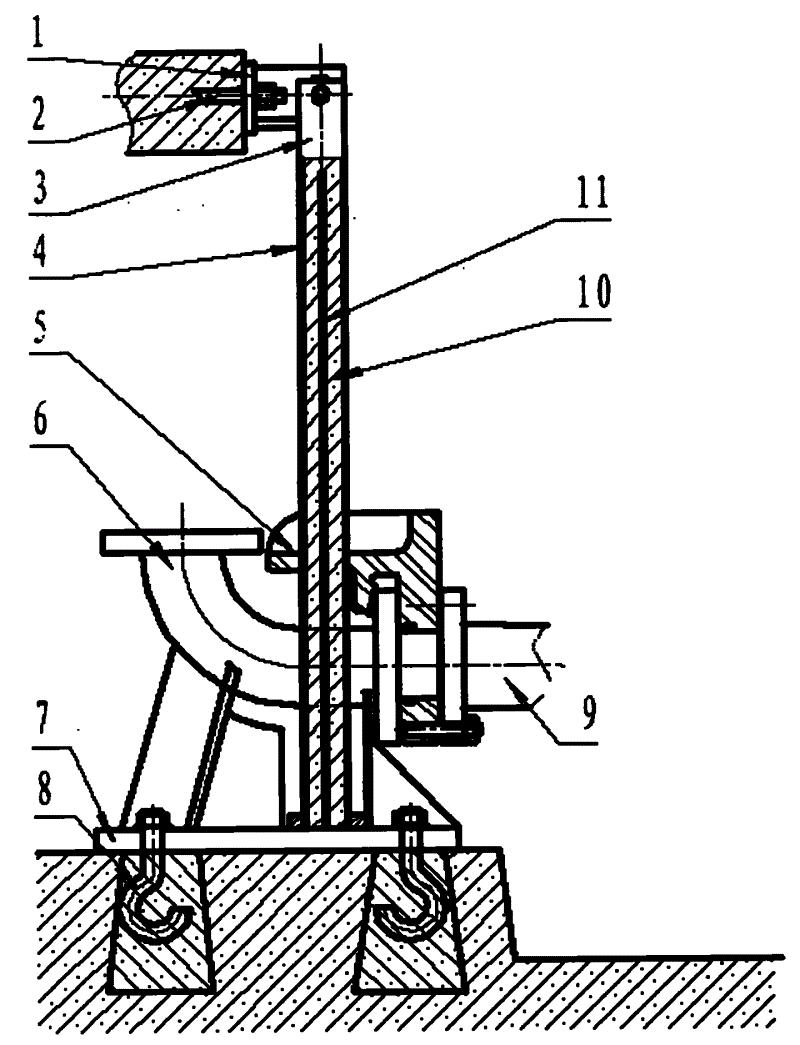
南京蓝深潜水泵WQ60-13-4 耦合安装
南京蓝深制泵集团潜水排污泵
出水口径80mm
铸铁材质
使用电压380V
配YCW型水下密封电缆10米
木箱包装
配耦合安装

蓝深潜污泵主要材料:
|
叶轮 |
不锈钢 AISI316L |
|
泵壳 |
不锈钢 AISI316L |
|
主轴 |
ASTM420/ASTM431/ASTM329或以上 |
|
提升链 |
ASTM316L不锈钢或以上 |
|
导杆 |
ASTM316L不锈钢或以上 |
|
机械密封 |
耐腐蚀烧结碳化钨或碳化硅 |
|
与介质接触紧固件 |
ASTM316L不锈钢或以上 |
南京蓝深潜污泵设计及安装条件
(1) 污水潜污泵
蓝深污水安装在集水井内,长期在水下运行。
安装场所: 室外、水下
介质:污水
pH: 6~9
介质温度:-14.7~38.5℃
TDS:≤10000mg/L
介质中SS浓度:≤200mg/L
含其它杂物:少量
通过的杂物粒径:≯50 mm
工作时间:连续或间断
氯离子:≤2000mg/L
南京蓝深潜污泵结构:
蓝深潜污泵采用立式耦合式潜水泵,潜水电机与泵叶轮同轴相连。泵壳采用铸铁,泵壳内表面经加工后为光滑、无砂眼、气孔或其它铸造缺陷,所有水流通过部分应设计成无锐角形式,以使流速和流向变化趋于平稳;通道的断面要足够大,以保证所要求粒径的杂物都能通过叶轮。泵壳要有足够的厚度来承受所有的负荷,包括所要求的静压试验压力以及连续工作压力。所有与泵送液体接触的泵壳金属表面应喷涂防腐涂层。每台泵壳都必须在制造车间进行静压试验,试验压力不得小于关闭水头的2 倍(如特性曲线所示),试验时间应至少持续10min。在这一试验压力下,泵的任一部分均不得有变形现象发生,或出现变形的迹象及其它缺陷。
蓝深污水泵叶轮采用无堵塞设计,所有叶片都必须是相同的形式,间隔距离均匀,潜水泵应能通过粘性材料、破布、废纸和塑料等而不发生堵塞现象。泵叶轮必须整体铸造,材质铸铁或同等。泵叶轮须进行精心地加工和表面处理,并经过静、动平衡试验,动平衡精度应不低于ISO1940 G6.3 级。叶轮能效率快速传递电机输出功率。叶轮在经过表面处理后,须喷涂防腐涂层。叶轮应牢靠地固定在轴的端部,以防叶轮和轴发生松动。
泵轴和电机轴必须为整体结构,并与泵送的水流完全分开。泵轴必须采用高强度耐腐蚀不锈钢制造。泵轴应具有足够的强度和刚度,以承受正常工作、启动、停机时可能出现的最大扭矩,确保泵运行平稳。
泵和电机的轴承须是耐磨型的,在所有运行条件下均能够承受所有轴向和径向负荷,并完全与泵送的水流分开,其使用寿命应不低于100000 小时。
为了在蜗壳和叶轮间能有效密封,必须安装耐磨环。耐磨环必须可靠地紧固在泵壳上,在正常的运行条件下或泵逆向运转时都不会发生松动。耐磨环紧固时要考虑到容易拆除更换。如采用叶轮间隙可调的形式,则可不设耐磨环。采用两个上下双重独立的高质量机械密封系统,可以顺时针或逆时针转动,而不会带来不良后果。机械密封均采用碳化硅/碳化钨,介质酸碱度范围为pH2~10。机械密封应该是免维护的,润滑与被输送液体相隔开,应能抵抗热冲击,并具有良好紧急运行的特点。潜污泵机械密封的正常使用寿命不低于25000 小时。
电机的防护等级为IP68 级,绝缘等级为不低于F 级。应有合适的额定功率保证水泵在整个性能曲线中不会发生过载。电机应能每小时启动10 次。电机轴和转子经动、静平衡测试合格。电机应设计成在40℃环境下工作。泵头和电机应能浸入和连续泵送为40℃的液体,并且定子绕组的平均温升不超80℃。电机功率的选配应保证在工作范围内任一点运行时,都不会出现过载,在设计流量时的安全余量应不少于10%。潜污泵所配电机应能被液体充分冷却,不应依赖外部冷却系统,以保证无论电机浸没在泵所输送的液体中或上半部分直接暴露在空气中,都能提供足够的散热。技术部门提供一份能显示转矩、电流、功率因数、输入/输出功率和效率的性能曲线图,该性能曲线图还应包括启动和空载启动时的特性数据。
接到电机的供电和控制电缆应采用适合于水下应用的耐油绝缘电缆,即使电缆破损,水也不会顺着电缆线进入电机腔内。每根电缆应有单独的进口,电缆进入接线室处应采用可重复使用的防水密封件密封。电缆进线的水密封设计必须符合规定扭矩要求,以确保潜水密封的可靠性。
各位号泵所应配备的保护探头种类的具体情况如下:潜水泵密封腔内应设置泄漏传感报警装置;电机腔内应设置线圈温度的传感报警装置、电机腔泄漏传感报警装置;泵接线腔内应设置泄漏传感报警装置。温度传感报警装置采用热电阻或双金属片,通过报警给定器输出无源接点信号(报警给定器可安装在现场控制柜内);泄漏传感报警装置应能输出无源接点信号(开关量信号)。电机腔内应设置防结露装置。
蓝深集团潜水泵的全部材料应适用于污水介质特性的腐蚀环境。
使用电压380V重量75kg
通过颗粒40mm

潜水污水泵供货范围:
蓝深集团生产的潜污泵能够满足就地手动控制和远程控制,应包含但不限于以下范围:
·装配完整的潜水排污泵(泵壳、叶轮、配套电机、密封等)
·提升装置(导杆、支架、吊链等)
·耦合装置及附件
·每台污水泵所需的10m 水下电缆、接头、弯头、紧固件、电缆接线箱。
·低液位浮球开关
·就地控制箱(含 PLC 信号接口)
·所有连接附件、螺栓等紧固件
·随机的备品备件及备用工具
蓝深潜污泵质保期说明:
南京蓝深潜污泵从设备运行验收合格之日起十二个月内对所提供设备进行全面的保养维
护,以保证设备连续、有效的正常运行。
在质保期的第十二个月,南京蓝深售后部门会去往现场对设备进行常规的检验检查。
蓝深潜污泵备品备件的供货:
南京蓝深制泵集团潜污泵提供随机备品备件、专用工具、正常运转 2 年所需备品备件的详细清单,
·随机备品备件和专用工具清单单列于供货清单内,附装箱清单。
·正常运转2年需要的备品备件和推荐给业主的备品备件,终生维保
质保一年提供线上或现场指导安装调试
配现场控制箱安装使用
